T形コネクタの標準価格と圧縮工具適応表
各コネクタ適用工具一覧表
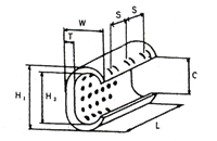
T形コネクタ寸法と梱包仕様
| 品番 | 各部の寸法(mm) | 圧縮回数と位置 | 適用電線合計断面積(m㎡) | 梱包数小箱 | 梱包数大箱(小箱6コ入) | 1ヶの質量(g) | 標準単価(1ヶ)本体価格 | ||||||
| H1 | H2 | W | L | T | C | 回数 | S | ||||||
| T-11 | 9.5 | 6.3 | 6.2 | 12 | 1.6 | 4 | 2 | 6 | 7.5~11 | 500 | 3,000 | 2.74 | 87円(消費税別) 96円(消費税込み) |
| T-16 | 11.8 | 7.8 | 7.3 | 13 | 2 | 5 | 2 | 7 | 11.5~16 | 500 | 3,000 | 4.51 | 113円(消費税別) 124円(消費税込み) |
| T-20 | 12.8 | 8.6 | 9.7 | 13 | 2.9 | 5.1 | 1 | 14~20 | 500 | 3,000 | 5.74 | 106円(消費税別) 117円(消費税込み) | |
| T-26 | 14.7 | 10.2 | 10.9 | 16 | 3.2 | 6.5 | 1 | 21~26 | 300 | 1,800 | 8.71 | 128円(消費税別) 141円(消費税込み) | |
| T-44 | 19 | 13.4 | 14.4 | 20 | 4 | 8.5 | 1 | 27~44 | 150 | 900 | 18.37 | 183円(消費税別) 201円(消費税込み) | |
| T-60 | 21 | 15.4 | 15.1 | 22 | 4 | 9.7 | 2 | 11 | 45~60 | 100 | 600 | 22.5 | 214円(消費税別) 235円(消費税込み) |
| T-76 | 24.4 | 17.3 | 17.6 | 22 | 5 | 10.8 | 2 | 11 | 61~76 | 80 | 480 | 33.09 | 284円(消費税別) 312円(消費税込み) |
| T-98 | 27.8 | 20.8 | 18.8 | 25 | 5 | 13.8 | 2 | 11 | 77~98 | 60 | 360 | 41.92 | 337円(消費税別) 371円(消費税込み) |
| T-122 | 29.8 | 22.1 | 21.2 | 26 | 5.5 | 13.5 | 2 | 12 | 99~122 | 50 | 300 | 54.3 | 413円(消費税別) 454円(消費税込み) |
| T-154 | 34 | 25.7 | 24.4 | 28 | 6 | 17 | 3 | 8.5 | 123~154 | 50 | 300 | 75 | 536円(消費税別)590円(消費税込み) |
| T-190 | 37 | 28.5 | 25.4 | 35 | 6 | 17.4 | 3 | 10.5 | 155~190 | 35 | 210 | 100.8 | 694円(消費税別) 763円(消費税込み) |
| T-240 | 40 | 30.2 | 28.5 | 40 | 7 | 19 | 3 | 13 | 191~240 | 25 | 150 | 150 | 946円(消費税別) 1,041円(消費税込み) |
| T-288 | 44.5 | 34.7 | 31.1 | 45 | 7 | 22.3 | 3 | 14.5 | 241~288 | 15 | 90 | 198 | 1,208円(消費税別) 1,329円(消費税込み) |
| T-365 | 47.5 | 37.7 | 34 | 50 | 7 | 24.8 | 3 | 16 | 289~365 | 13 | 78 | 221.6 | 1,417円(消費税別) 1,559円(消費税込み) |
| T-450 | 57.5 | 42.5 | 41 | 60 | 10 | 28 | 3 | 18.5 | 366~450 | 10 | 60 | 450 | 4,401円(消費税別) 4,841円(消費税込み) |
| T-560 | 62 | 46 | 45 | 65 | 11 | 31 | 3 | 20 | 451~560 | 8 | 48 | 590 | 5,482円(消費税別) 6,030円(消費税込み) |
| T-700 | 68 | 51 | 49.5 | 70 | 12 | 34 | 3 | 21 | 561~700 | 6 | 36 | 750 | 7,031円(消費税別) 7,734円(消費税込み) |
T形コネクタ寸法

T形コネクタ電線組合せ表
| 分岐線m㎡ | ||||||||||||||||
| 2 | 3.5 | 5.5 | 8 | 14 | 22 | 38 | 60 | 100 | 150 | 200 | 250 | 325 | ||||
| (φ1.6) | (φ2.0) | (φ2.6) | ||||||||||||||
| 本線m㎡ | 5.5 | 11 | 11 | 11 | ||||||||||||
| (φ2.6) | ||||||||||||||||
| 8 | 11 | 16 | 16 | 16 | 20 | |||||||||||
| 14 | 16 | 20 | 20 | 20 | 26 | 44 | ||||||||||
| 22 | 26 | 26 | 44 | 44 | 44 | 44 | ||||||||||
| 38 | 44 | 44 | 44 | 60 | 60 | 60 | 76 | |||||||||
| 60 | 76 | 76 | 76 | 76 | 76 | 98 | 98 | 122 | ||||||||
| 100 | 122 | 122 | 122 | 122 | 122 | 122 | 154 | 190 | 240 | |||||||
| 150 | 154 | 154 | 190 | 190 | 190 | 190 | 190 | 240 | 288 | 365 | ||||||
| 200 | 240 | 240 | 240 | 240 | 240 | 240 | 240 | 288 | 365 | 365 | 450 | |||||
| 250 | 288 | 288 | 288 | 288 | 288 | 365 | 365 | 450 | 450 | 560 | ||||||
| 325 | 365 | 365 | 365 | 365 | 365 | 450 | 450 | 560 | 560 | 700 | 700 | |||||
| 400 | 450 | 560 | 560 | 560 | 700 | 700 | ||||||||||
| 500 | 560 | 560 | 700 | 700 | 700 | |||||||||||
| 600 | 700 | 700 | 700 | |||||||||||||
備考
1. 記入の数値はT形コネクタの品番T-「」を示す。
2. 適用工具は EH-2C 15号B 16号B EP-520C
3. 圧縮形導体の電線組合せは除く。
4. 15号B、16号B、EP-520Cは上表適用サイズ以下のダイスも用意しております。お問い合わせください。